Описание
Отзывы
Описание
Печатная книга «Войсковая сигнализация» в мягкой обложке, язык - русский. В книге 178 страниц, она напечатана на белой офсетной бумаге плотностью 80 г/м². Формат издания — 148x210 мм. Все книги аккуратно упаковываем в прочный трёхслойный непрозрачный картонный конверт.
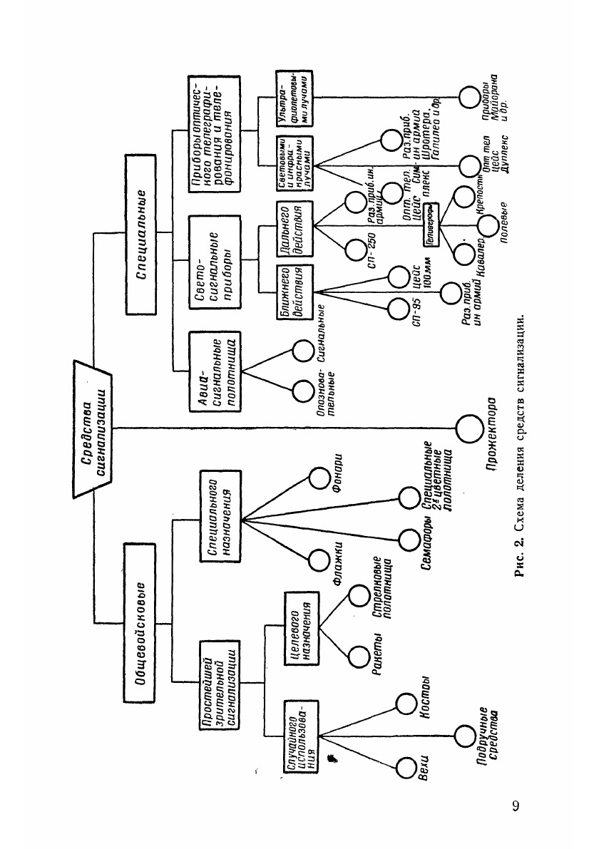
Одобрено Управлением связи Красной Армии в качестве пособия для военных училищ и начальствующего состава войск связи.В книге дается исторический очерк применения сигнальных средств, обосновываются возможность и необходимость применения для связи сигнальных средств в современном бою, кратко разбирается теория светосигнальной аппаратуры и применение лучистой энергии для оптического телефонирования и описывается материальная часть светосигнальных приборов и оптических телефонов. В конце книги даются методические указания по подготовке сигнальщиков.
Эта книга — репринт оригинального издания (издательство "Военное издательство НКО СССР", 1940 год), созданный на основе электронной копии высокого разрешения, которую очистили и обработали вручную, сохранив структуру и орфографию оригинального издания. Редкие, забытые и малоизвестные книги, изданные с петровских времен до наших дней, вновь доступны в виде печатных книг.
Отзывы
Отзывов еще никто не оставлял
