Описание
Характеристики
Отзывы
Описание
Печатная книга «Промышленные телевизоры и их эксплуатация, Массовая радиобиблиотека (МРБ). Выпуск 0103» в мягкой обложке, язык - русский. В книге 119 страниц, она напечатана на белой офсетной бумаге плотностью 80 г/м². Формат издания — 148x210 мм. Все книги аккуратно упаковываем в прочный трёхслойный непрозрачный картонный конверт.
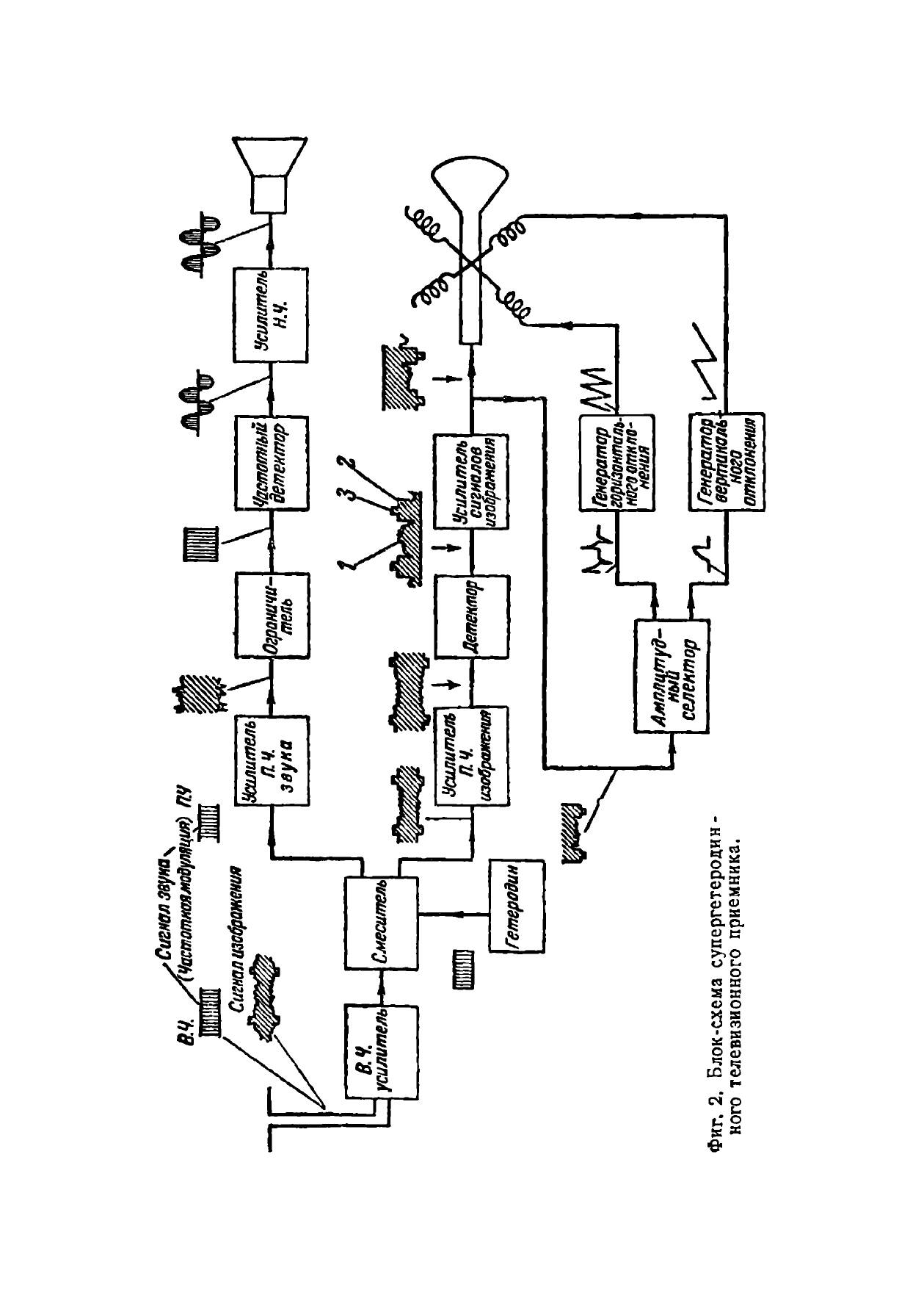
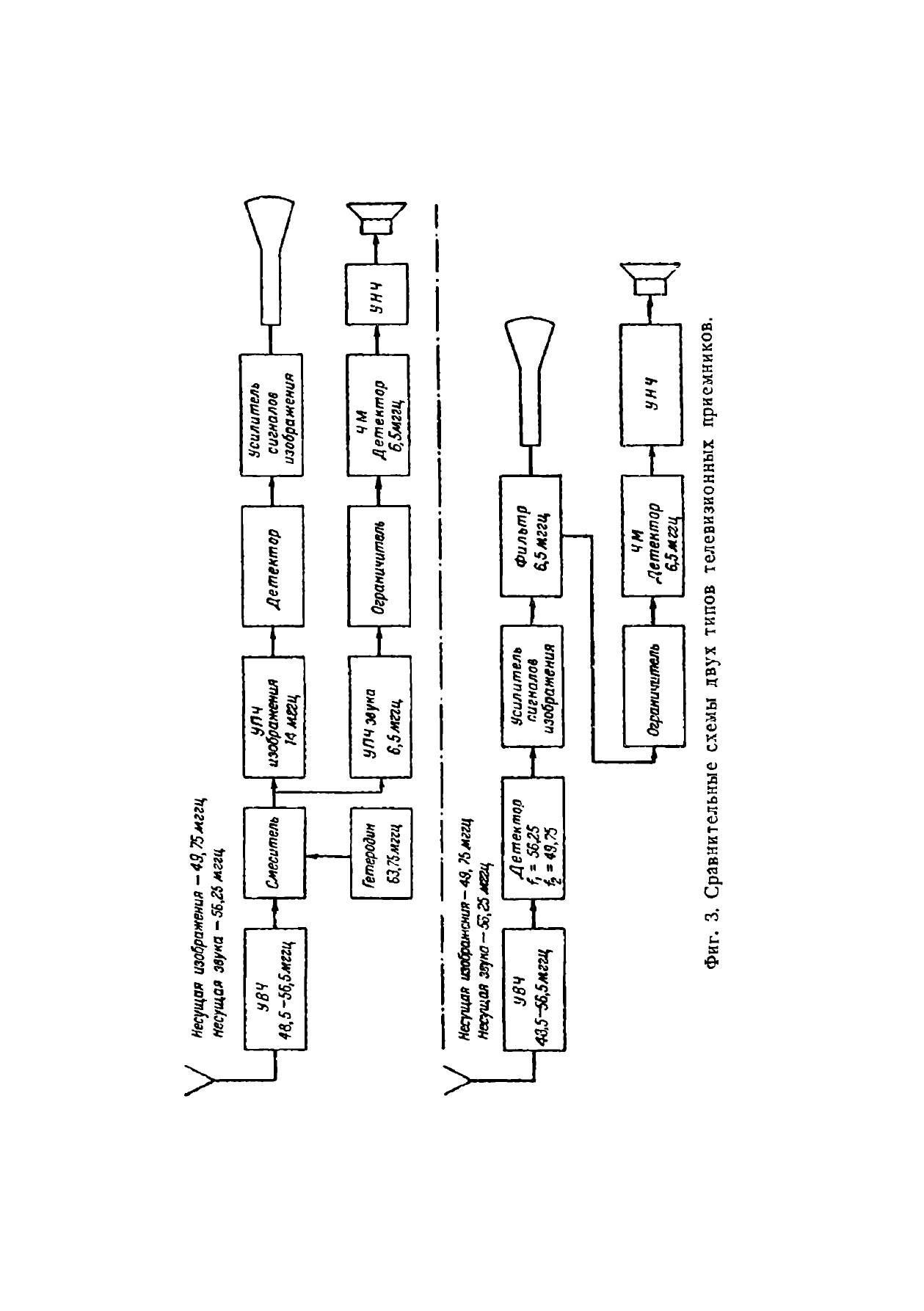
В книге даются краткие сведения о принципах работы телевизионного радиоприемника и отдельных его узлов. Рассказывается о правилах обращения с телевизионным приемником, его установке, простейших неисправностях, способах их определения и устранения. Приводятся данные о конструкции и схеме советских телевизионных приемников Т-1 «Москвич», Т-1 «Ленинград», Т-1 (КВН-49) и Т-2.
Эта книга — репринт оригинального издания (издательство "Госэнергоиздат", 1915 год), созданный на основе электронной копии высокого разрешения, которую очистили и обработали вручную, сохранив структуру и орфографию оригинального издания. Редкие, забытые и малоизвестные книги, изданные с петровских времен до наших дней, вновь доступны в виде печатных книг.
Характеристики
Язык
Русский
Формат
148x210
Период издания оригинала
1900-1950
Отзывы
Отзывов еще никто не оставлял
