Описание
Характеристики
Отзывы
Описание
Печатная книга «Практическое руководство по фотометрическим методам анализа» в мягкой обложке, язык - русский. В книге 432 страниц, она напечатана на белой офсетной бумаге плотностью 80 г/м². Формат издания — 148x210 мм. Все книги аккуратно упаковываем в прочный трёхслойный непрозрачный картонный конверт.
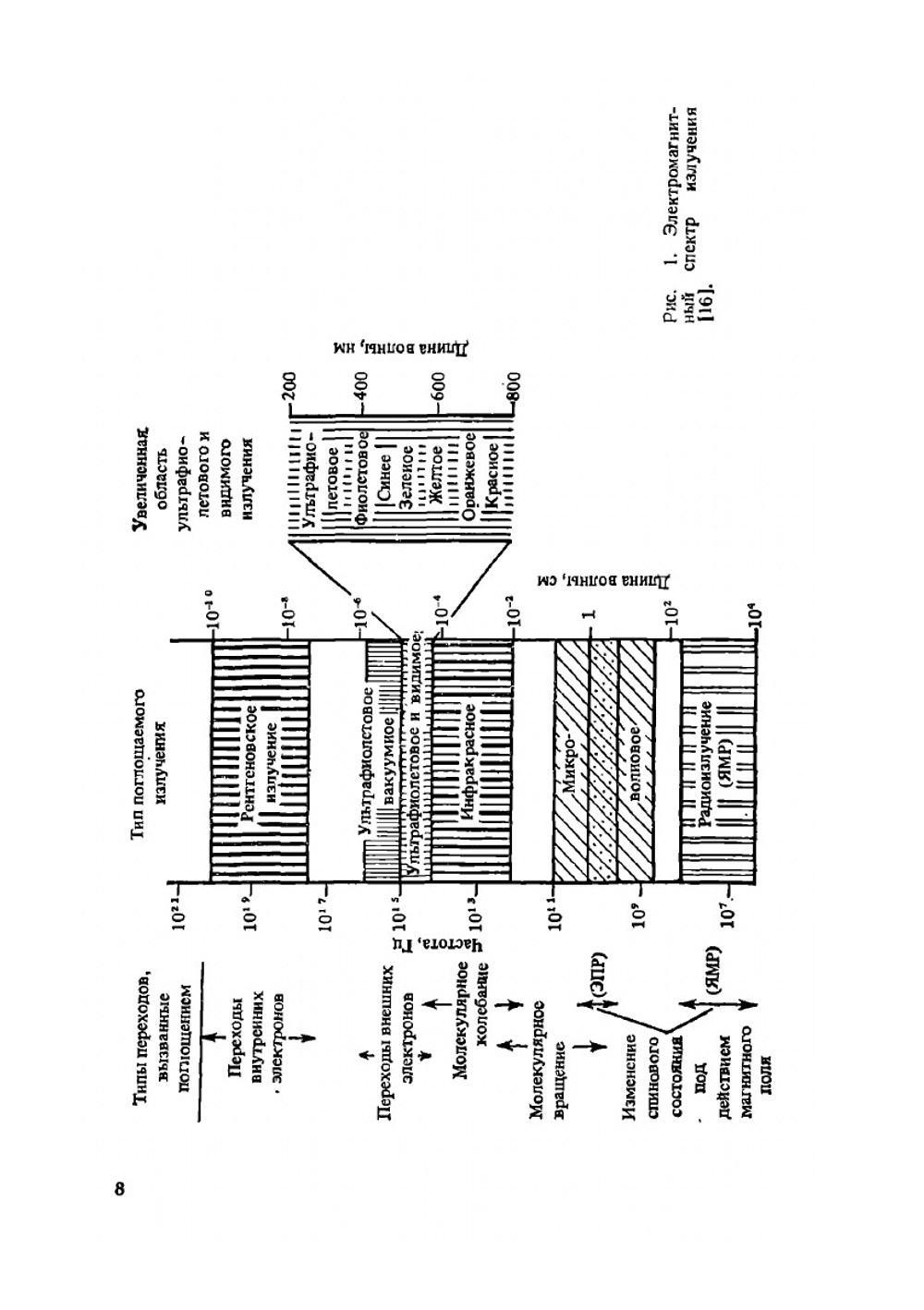
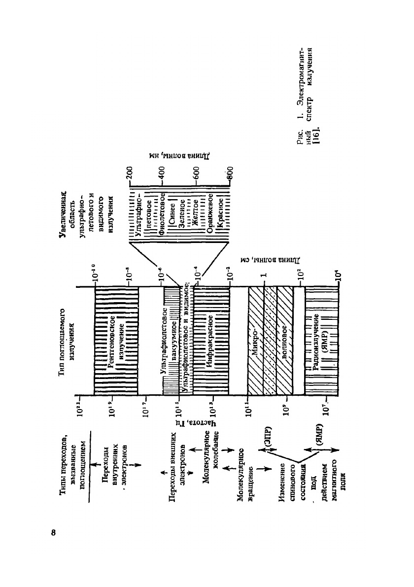
В пятом издании (4-е изд. вышло в 1976 г.) обновлен и переработан материал, посвященный чувствительности фотометрических определений, аппаратурному оформлению методов и расчётам. Описаны условия фотометрического определения веществ, аппаратура и методы измерения светопоглощення растворов в видимой и ультрафиолетовой областях спектра. Специальные главы посвящены метрологическим характеристикам и математической обработке экспериментальных данных.Предназначена работникам исследовательских и заводских химических лабораторий Полезна также студентам и преподавателям химико-аналитических специальностей вузов.
Эта книга — репринт оригинального издания (издательство "Химия", 1986 год), созданный на основе электронной копии высокого разрешения, которую очистили и обработали вручную, сохранив структуру и орфографию оригинального издания. Редкие, забытые и малоизвестные книги, изданные с петровских времен до наших дней, вновь доступны в виде печатных книг.
Характеристики
Язык
Русский
Формат
148x210
Период издания оригинала
1980-1990
Отзывы
Отзывов еще никто не оставлял
